联系我们
          联系人:燕经理
 
          电   话:13661621501
          座   机:13661621501
          Q Q号:1403545967
          邮   箱:1403545967@qq.com
          地   址:上海市奉贤区泰叶路159弄33号
          网站备案号: 沪ICP备2022003579号-2 XML地图 
        
      
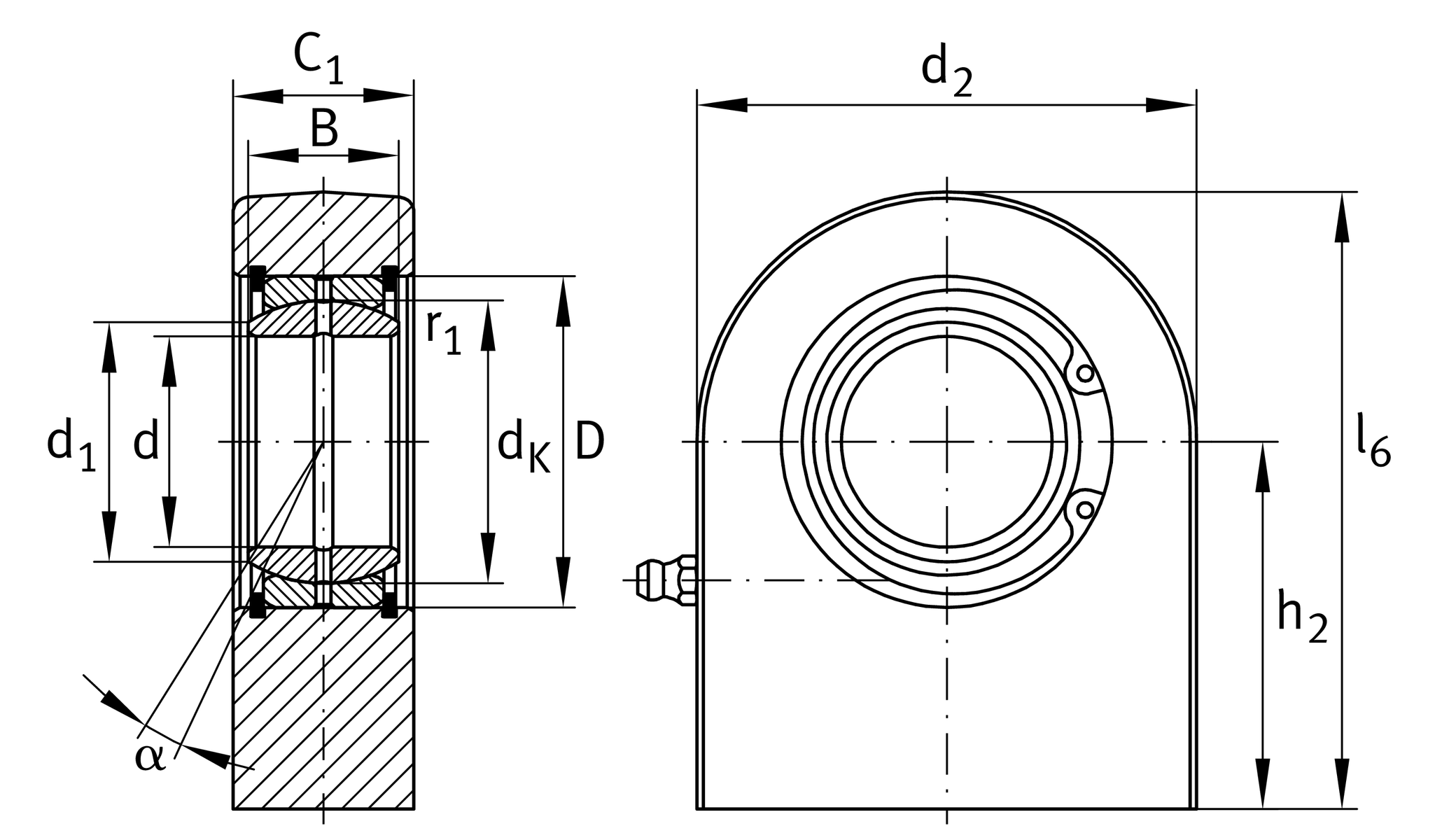
                            d | 
                          25 mm | 
                            D | 
                          42 mm | 
                            B | 
                          20 mm | 
                            Cr | 
                          48300 N | 
                            Cor | 
                          68800 N | 
                            dK | 
                          35.5 mm | Ball diameter | 
                            d1 | 
                          29.3 mm | Inner ring outer flange diameter | 
                            d2 | 
                          55 mm | Outer ring diameter | 
                            h2 | 
                          45 mm | Welding head shank length | 
                            C1 | 
                          23 mm | Rod end width | 
                            C1 max | 
                          24 mm | MAXRod end width | 
                            α | 
                          7 ° | inclination | 
                            l6 | 
                          72.5 mm | Total length of welding head | 
                            r1smin | 
                          0.6 mm | margin | 
                            dOT | 
                          0 mm | Bearing inner diameter, upper deviation | 
                            dUT | 
                          -0.01 mm | Bearing inner diameter, lower deviation | 
                            BOT | 
                          0 mm | Inner ring width, upper deviation | 
                            BUT | 
                          -0.12 mm | Inner ring width, lower deviation | 
                            T min | 
                          -60 °C | Minimum operating temperature | 
                            T max | 
                          200 °C | Maximum operating temperature |